加工一個齒輪大致要經過齒坯加工、齒形加工、熱處理齒形精加工等四個主要步驟。
a)倒圓 b)倒尖 c)倒棱
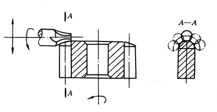
圖1 齒端加工
齒輪的齒端加工方式有:倒圓、倒尖、倒棱和去毛刺四種方式。經倒圓、倒尖、倒棱后的齒輪(圖1)。沿軸向移動時容易進入嚙合。齒端倒圓應用最多,圖2是表示用指狀銑刀倒圓的原理圖。倒圓時,齒輪慢速旋轉,指狀銑刀在高速度旋轉的同時沿齒輪軸向作往復直線運動。齒輪每轉過一齒,銑刀往復運動一次,兩者在相對運動中即完成齒端倒圓。同時由齒輪的旋轉實現連續分齒,生產率較高。齒端加工應安排在齒形淬火之前進行。

圖2 齒端倒圓
相關文章
- 2021-09-08BIM技術叢書Revit軟件應用系列Autodesk Revit族詳解 [
- 2021-09-08全國專業技術人員計算機應用能力考試用書 AutoCAD2004
- 2021-09-08EXCEL在工作中的應用 制表、數據處理及宏應用PDF下載
- 2021-08-30從零開始AutoCAD 2014中文版機械制圖基礎培訓教程 [李
- 2021-08-30從零開始AutoCAD 2014中文版建筑制圖基礎培訓教程 [朱
- 2021-08-30電氣CAD實例教程AutoCAD 2010中文版 [左昉 等編著] 20
- 2021-08-30電影風暴2:Maya影像實拍與三維合成攻略PDF下載
- 2021-08-30高等院校藝術設計案例教程中文版AutoCAD 建筑設計案例
- 2021-08-29環境藝術制圖AutoCAD [徐幼光 編著] 2013年PDF下載
- 2021-08-29機械AutoCAD 項目教程 第3版 [繆希偉 主編] 2012年PDF