1 夾具的結構及安裝方法
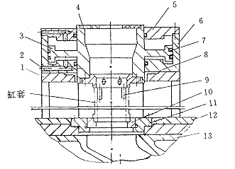
夾具的結構見圖1。夾具主要由底座支架、上支架、氣缸、壓緊圈和定位套等組成。底座 支架13固定在鏜床床身基座上,上支架1用螺栓固定在底座支架13的上面,氣缸體6固定在上 支架1上。活塞3中間是空心的,以便讓刀桿和刀頭通過。冷卻管安裝在壓緊圈8上,壓緊圈8 固定在活塞3上,活塞3向下移動就可以壓緊工件了。定位套10和定位座11固定在底座支架13 上。為了保證定位精度,定位套10要留有鏜量,以便固定好定位套后,用鏜刀直接鏜出定位 尺寸精度。加工中鐵屑和冷卻液一起從底座13上的中間孔里流出。墊板12的作用是為了裝卸工件方便。

圖1 夾具結構
1.上支架 2.風道 3.活塞 4.擋板 5.氣缸蓋
6.氣缸體 7.O形密封圈 8.壓緊圈 9.冷卻管
10.定位套 11.定位座 12.墊板 13.底座支架
安裝夾具時,首先要把鏜床原工作臺拆掉,把夾具的底座支架13固定在床身基座上。
2 操作系統的改進
改進后的鏜床操作系統見圖2所示,主要改進的部件如下:

圖2 鏜床操作系統改進示意圖
1.上支承板 2.行程開關 3.撞塊 4.行程開關
固定板 5.行程開關 6.下支承板 7.F形接桿
8.主軸進給變換手柄 9.氣缸固定座 10.氣缸
(1) 主軸進給變換手柄的自動控制
鏜床的刀頭加工完工件后,就停在原位,用手啟動主軸進給變換手柄8刀頭才能快 速退回原位。為了實現自動退刀,我們在床身上安裝一個氣缸10,其活塞上的接桿7做成F形 狀,能卡住主軸進給變換手柄8,當活塞上下移動時,接桿7就帶動主軸進給變換手柄8移動 ,使離合器實現結合和離開,從而實現刀頭快速退回原位。
(2) 行程開關的改進
行程開關固定板4固定在機床旁側,中間有通槽,調好刀具行程范圍后,就把行程開 關固定在上面。
(3) 操作方法
把缸套放入夾具定位套中,用手啟動開關(開關有4個功能),使主軸電機工作,使夾具氣缸 壓緊工件,使床身上氣缸10工作,以帶動離合器結合,使切削液泵工作。工件加工完后,撞 塊3觸動行程開關5(見圖2),(行程開關5有3個功能)主軸電機停止工作,切削液泵停止工作 ,床身上氣缸10中活塞向下移動使離合器分離,則刀頭快速退回。當撞塊3觸動行程開關2 時 (行程開關2有兩個功能),快速退回的刀頭停止,夾具上的氣缸松開工件。這時可取下工件 。
通過上述的改進,提高了生產效率,減輕了工人的勞動強度,實現了半自動化操作,深受工人的歡迎。
相關文章
- 2021-09-08BIM技術叢書Revit軟件應用系列Autodesk Revit族詳解 [
- 2021-09-08全國專業技術人員計算機應用能力考試用書 AutoCAD2004
- 2021-09-08EXCEL在工作中的應用 制表、數據處理及宏應用PDF下載
- 2021-08-30從零開始AutoCAD 2014中文版機械制圖基礎培訓教程 [李
- 2021-08-30從零開始AutoCAD 2014中文版建筑制圖基礎培訓教程 [朱
- 2021-08-30電氣CAD實例教程AutoCAD 2010中文版 [左昉 等編著] 20
- 2021-08-30電影風暴2:Maya影像實拍與三維合成攻略PDF下載
- 2021-08-30高等院校藝術設計案例教程中文版AutoCAD 建筑設計案例
- 2021-08-29環境藝術制圖AutoCAD [徐幼光 編著] 2013年PDF下載
- 2021-08-29機械AutoCAD 項目教程 第3版 [繆希偉 主編] 2012年PDF