提示:由于圖的尺寸較大,請單擊標題查看.......
一、剖視圖的比較

二、讀圖方法
1、先找出主視圖,這是看圖的關鍵
主視圖主要反映物體的形狀特征或位置特征。
2、剖視圖的讀圖方法

應用舉例1:

讀圖方法:
(1)圖形分析
以表格分析法的方式進行分析:B-B為主視圖。

(2)形體分析
對投影,分析物體的形體:通過分析形體,想象出各部分的空間形狀,再按它們之間的相對位置組合起來,便可想象出閥體的整體形狀。
如立體圖:

由此可見,物體是由管體、上連接板、下連接板、左連接板、右連接板等五個部分組成的.
提示:上連接板上應有一個圓柱孔,直徑為30,在此更正.
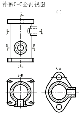
應用舉例2:

分析:題目要求畫C-C的單一剖的全剖視圖.
主視圖,用視圖表達,主要表達各部分的外形;
A-A,(從下向上投影)單一剖的全剖,主要表達第4部分的內部結構和第1部分的外形;
B-B,(從上向下投影)單一剖的全剖,主要表達第5部分的內部結構和第3部分的外形;#p#分頁標題#e#
立體圖如下:

答案:

注意:
(1)畫虛線圓,表示第4部分外形;
(2)注意相貫線的畫法;
(3)第3部分的孔由于未剖上,孔的軸線要畫,以表示孔的位置.
相關文章
- 2021-09-08BIM技術叢書Revit軟件應用系列Autodesk Revit族詳解 [
- 2021-09-08全國專業技術人員計算機應用能力考試用書 AutoCAD2004
- 2021-09-08EXCEL在工作中的應用 制表、數據處理及宏應用PDF下載
- 2021-08-30從零開始AutoCAD 2014中文版機械制圖基礎培訓教程 [李
- 2021-08-30從零開始AutoCAD 2014中文版建筑制圖基礎培訓教程 [朱
- 2021-08-30電氣CAD實例教程AutoCAD 2010中文版 [左昉 等編著] 20
- 2021-08-30電影風暴2:Maya影像實拍與三維合成攻略PDF下載
- 2021-08-30高等院校藝術設計案例教程中文版AutoCAD 建筑設計案例
- 2021-08-29環境藝術制圖AutoCAD [徐幼光 編著] 2013年PDF下載
- 2021-08-29機械AutoCAD 項目教程 第3版 [繆希偉 主編] 2012年PDF