
從 Power Mac G5 開始,Apple 慢慢的轉變為一家鋁制品加工廠,從生產時尚可愛的產品(iMac G3,iBook 1999 等),進化為一家生產“危險品”的公司,“危險品”就是那些鋁制品,尤其是現今,比如最近的 iPod Shuffle 3代,到此前的新一代MacBook,第四代 iPod nano,MacBook Air,新款 iMac……,都有非常鋒利的邊緣,純真的90度夾角(雙倍45度的華麗?),完整、純粹、堅固、銳麗。尤其是那 MacBook 的 Unibody,從整個鋁塊中挖掘而出足以讓人驚嘆,如石雕帶給人的整體和堅固感。而在 MacBook 之前的 iMac 一樣有這種整體感,可以從上圖感受一下,那么 iMac 是否也是從鋁塊中挖掘而出的呢?雖然在開始我們單憑想象很難從成本和效率的角度去認同 MacBook 的 Unibody 的可行性,但這么大的 iMac 而且相比 MacBook C殼空曠的內部如果也是這種加工工藝,那么即使在現在也是無法想象的。那么 iMac 的這一道亮利的風景線是如何加工而來的呢?iMac 是用整張鋁板加工而成,而金屬沖壓都有一個自然(或人工)的圓角過度,何來這雙倍45度的華麗。
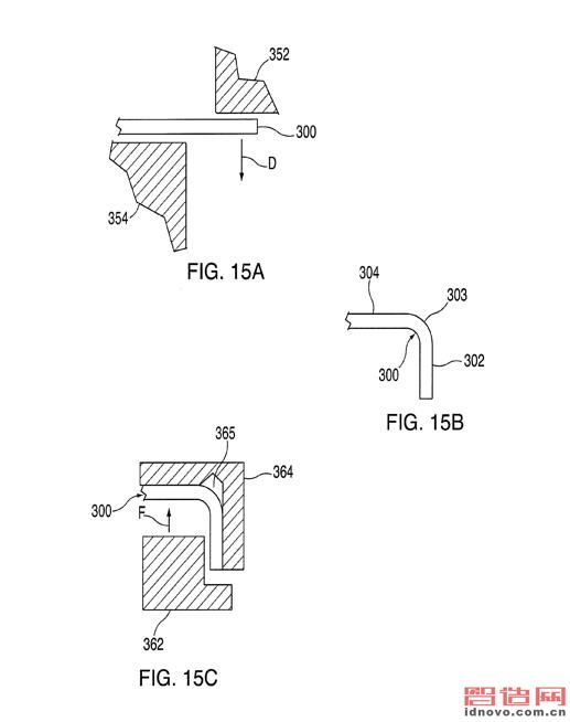
在 USPTO (美國專利商標局)看到與這有關的一個Apple 申請中的專利,叫做 HOUSING COMPONENTS FOR ELECTRONIC DEVICES AND METHODS FOR CONSTRUCTING THE SAME ,剛好可以解釋,鋁板經過一次深沖壓,然后鍛壓,然后加工出90度,結果就是讓人感覺如同整個鋁塊中挖掘而出一樣。見下圖:

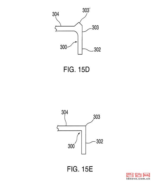
斯卡帕對90度切角的處理,預先在交界處挖去一個圓孔,就可避免切過頭或者切不好看。這也是一種常見的方法,尤其是在機械加工中,學過制圖的都知道有一個“退刀槽”,而 iMac 這道鋒利的邊線的形成工藝也可以看作是同樣的思維。
相關文章
- 2021-09-08BIM技術叢書Revit軟件應用系列Autodesk Revit族詳解 [
- 2021-09-08全國專業技術人員計算機應用能力考試用書 AutoCAD2004
- 2021-09-08EXCEL在工作中的應用 制表、數據處理及宏應用PDF下載
- 2021-08-30從零開始AutoCAD 2014中文版機械制圖基礎培訓教程 [李
- 2021-08-30從零開始AutoCAD 2014中文版建筑制圖基礎培訓教程 [朱
- 2021-08-30電氣CAD實例教程AutoCAD 2010中文版 [左昉 等編著] 20
- 2021-08-30電影風暴2:Maya影像實拍與三維合成攻略PDF下載
- 2021-08-30高等院校藝術設計案例教程中文版AutoCAD 建筑設計案例
- 2021-08-29環境藝術制圖AutoCAD [徐幼光 編著] 2013年PDF下載
- 2021-08-29機械AutoCAD 項目教程 第3版 [繆希偉 主編] 2012年PDF